Texas Instruments TPS92365x Boost/Buck-Boost LED Drivers

Texas Instruments TPS92365x Non-Synchronous Boost/Buck-Boost LED Drivers have a 4.5V to 65V wide input range. By integrating the low-side NMOS switch, the devices can drive LEDs and charge batteries with high power density and high efficiency. These devices are available with typical current limits of 1.5A (TPS922650), 3A (TPS922651, TPS922652, and TPS922653), and 6.5A (TPS922654 and TPS922655). The TPS92365x also supports common anode connection and single-layer PCB design. The switching frequency is configurable from 100kHz to 2.2MHz with an optional spread spectrum feature for better EMI performance.

The TPS92365x supports four dimming options: analog, PWM, hybrid, and flexible. Each dimming method can be configured through the PWM and ADIM input pins using simple high and low signals. The TPS92365x adopts an adaptive off-time current mode control and smart and accurate sampling to enable inductive fast dimming (IFD) and achieve high dimming accuracy.

The Texas Instruments TPS92365x provides multiple systematic protections, including LED open and short, sense resistor open and short, configurable thermal foldback, and thermal shutdown. A Fault output sends out acknowledge signals as soon as any fault condition is detected.

Features

  • 4.5V to 65V wide input range
  • LED common anode connection
  • Integrated 150mΩ MOSFET with typical 3A/6.5A current limit
  • 100kHz to 2.2MHz optional switching frequency
  • Spread spectrum for TPS923653 and TPS923655
  • Advanced dimming options
    • Analog dimming (256:1)
    • Fast PWM dimming (150ns pulse width)
    • Hybrid and flexible dimming (2,000:1 at 20kHz PWM, 10,000:1 at 4kHz PWM, 1,000,000:1 at 120Hz PWM)
  • CC/CV charging mode
  • Full protection features
    • LED open and short protection
    • Switching FET open and short protection
    • External component failure protection
    • Cycle-by-cycle current limit
    • Thermal shutdown
    • Fault output (open drain)
  • Configurable thermal foldback curve
  • VSON, WSON, and SOT-23 package options

Applications

  • Constant illumination
    • Indoor, outdoor, professional lighting
    • Medical, surgical lighting
    • Projector, laser TV, printer, IP camera
  • Instant illumination
    • Machine vision, camera flash
    • Fire alarm, strobe
  • CC and CV source
    • LCD backlighting
    • Battery charging
    • TEC control

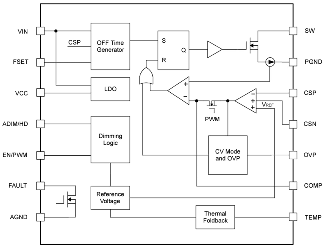
Functional Block Diagram

Block Diagram - Texas Instruments TPS92365x Boost/Buck-Boost LED Drivers
Publicado: 2023-12-13 | Actualizado: 2025-03-05