Texas Instruments TCAL6416R I2C-Bus/SMBus I/O Expander
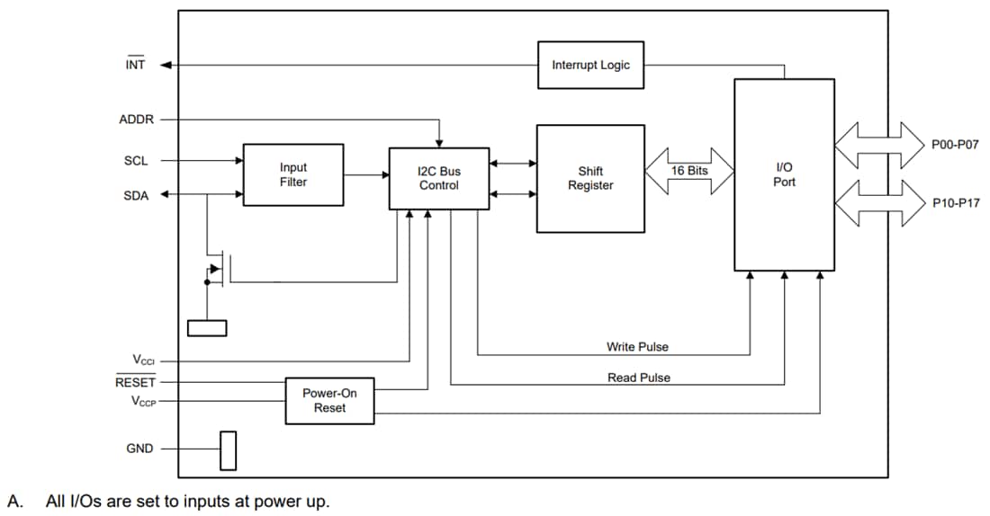
Texas Instruments TCAL6416R I2C-Bus/SMBus I/O Expander provides general-purpose output (I/O) and parallel input expansion for the two-line bidirectional SMBus or I2C bus protocol. The device has a power supply voltage ranging from 1.08V to 3.6V on the P-port side (VCCP), and from 1.08V to 3.6V on the I2C bus side (VCCI). The device supports 100kHz (Standard-Mode), 400kHz (Fast-Mode), and 1MHz (Fast-Mode-Plus) I2C clock frequencies. I/O expanders, such as the TCAL6416R, provide a simple solution when additional I/Os are needed for sensors, switches, push-buttons, LEDs, fans, etc.The Texas Instruments TCAL6416R has agile I/O ports, which include additional features designed to enhance I/O performance regarding power consumption, speed, and EMI. The extra features include programmable pull-up and pull-down resistors, programmable output drive strength, latchable inputs, interrupt status register, maskable interrupt, and programmable open-drain or push-pull outputs. The RESET pin only resets the I2C state machine when stuck to regain access to the I2C. I/O pins and sticky registers retain the last configured state while the I2C is re-initialized.
Features
- Operating power-supply voltage range of 1.08V to 3.6V
- Allows bidirectional voltage-level translation and GPIO expansion between 1.2V, 1.8V, 2.5V, and 3.3V I2C bus and p-ports
- Low standby current consumption of 1µA typical at 1.8V
- 1MHz fast mode plus I2C bus
- The hardware address pin allows two devices on the same I2C, SMBus bus
- Active-low reset input (/RESET)
- Sticky registers retain values when the device is reset with /RESET
- The I2C functional state machine is reset
- Open-drain active-low interrupt output (/INT)
- Input or output configuration register
- Polarity inversion register
- Configurable I/O drive strength register
- 10kΩ pull-up and pull-down resistor configuration register
- Internal power-on reset
- Software reset call support
- Noise filter on SCL or SDA inputs
- Latched outputs with high-current drive maximum capability for directly driving LEDs
- Latch-up performance exceeds 100mA per JESD 78, class II
- ESD protection exceeds JESD 22
- 4000V human-body model (A114-A)
- 1000V charged-device model (C101)
Applications
- Servers
- Routers (telecom switching equipment)
- Personal computers
- Personal electronics
- Industrial automation
- Gaming consoles
- Products with GPIO-limited processors
Simplified Schematic
Functional Block Diagram
Publicado: 2025-08-20
| Actualizado: 2025-08-28
