Texas Instruments TAS5822M Class-D Audio Amplifiers
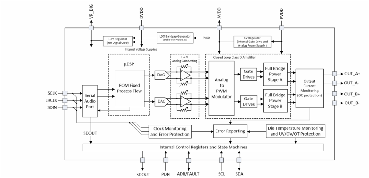
Texas Instruments TAS5822M Class-D Audio Amplifiers offer high efficiency and a digital input for driving loudspeakers in consumer, commercial, and industrial electronics. These devices provide a high-performance closed-loop architecture and wide-switching frequency range that reduces the solution size by decreasing passive components and minimizing the inductor size in most applications.The TI TAS5822M Class-D Audio Amplifiers feature an integrated audio processor with an architecture up to 96kHz to support advanced process flow. The device supports high-efficiency 1SPW modulation with adjustable Class D loop bandwidth for good audio performance.
Features
- Flexible audio I/O
- Supports 32, 44.1, 48, 88.2, 96kHz sample rates
- I2S, LJ, RJ, TDM
- SDOUT for audio monitoring, sub-channel, or echo cancellation
- PLL integrated, supports 3-wire digital audio interface (no MCLK required)
- Supports stereo bridge-tied or mono parallel bridge-tied loads (BTL and PBTL)
- Efficient class-D operation with > 90% power efficiency, 90mΩ RDSon
- Supports multiple output configurations
- 2 × 35W in 2.0 Mode (8Ω, 24V, THD+N=1%)
- 2 × 22W in 2.0 Mode (6Ω, 18V, THD+N=1%)
- Excellent audio performance
- THD+N ≤ 0.06% at 1W, 1kHz, PVDD = 24V
- SNR ≥ 110dB (A-weighted), ICN ≤ 40μVRMS
- Enhanced audio processing
- Sample rate converter
- 96kHz processor sampling
- DC blocking, 2 ×14 BQs, THD manager
- DPEQ, Volume Control
- Input Mixer, Output Crossbar
- 4th order 2-Band DRC + AGL
- Over temperature fold back
- Flexible power supply configurations
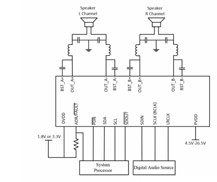
- 4.5V to 26.4V PVDD
- 1.8V or 3.3V DVDD and I/O
- Excellent Integrated self-protection
- Over-current error (OCE)
- Over-temperature warning (OTW)
- Over-temperature error (OTE)
- Under/over-voltage lock-out (UVLO/OVLO)
- Easy system integration
- I2C Software Control
- Reduced solution size
- Fewer passives are required compared with open-loop devices
- Ultra-low EMI with current EMI technology
- No large inductors are required for most applications
Applications
- Soundbars, PC audio
- Wireless BLUETOOTH® speakers
- DTV, HDTV, UHD, and multi-purpose monitors
Switching Diagram
Block Diagram
Publicado: 2020-12-29
| Actualizado: 2024-10-30
