Texas Instruments TAS5720A-Q1 Automotive Class-D Audio Amplifiers
Texas Instruments TAS5720A-Q1 1x25W Digital Input Closed-Loop Automotive Class-D Audio Amplifiers offer up to 25W immediate power into 4Ω at 10% THD+N at 14.4V. The TAS5720A-Q1 is an excellent choice for use in automotive emergency call (eCall), telematics, acoustic vehicle alerting system (AVAS), and EV/HEV sound generation applications. Features include selectable hardware or software control modes, selectable gain options, and an integrated digital clipper. The device provides a wide power supply operating range of 4.5V to 26.4V and is available in a thermally enhanced 32-Pin TSSOP package. The TAS5720A-Q1 devices are AEC-Q100 qualified for automotive applications.Features
- Minimum supply voltage down to 4.5V
- Selectable hardware or software control
- Audio performance (PVDD = 12V, RSPK = 8Ω, SPK_GAIN[1:0] Pins = 00)
- Idle channel noise = 69µVrms (A-Wtd)
- THD+N = 0.02% (at 1W, 1kHz)
- SNR = 100dB A-Wtd (Ref. to THD+N = 1%)
- Audio I/O configuration:
- Mono I²S input
- 32, 44.1, 48, 88.2, 96kHz Sample rates
- Qualified for automotive applications
- General operational features:
- Integrated digital output clipper
- Programmable I²C address (1101100[R/W] or 1101101[R/W])
- Closed-loop amplifier architecture
- Robustness features:
- Clock error, DC, and short-circuit protection
- Overtemperature and programmable overcurrent protection
Applications
- Automotive telematics
- eCall (Emergency Call)
- Acoustic Vehicle Alerting System (AVAS)
- EV/HEV Sound generation
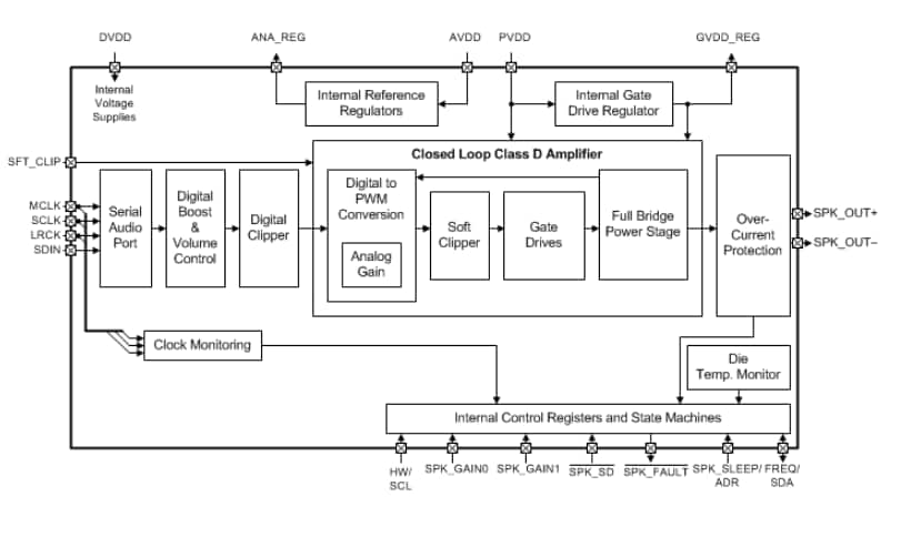
Block Diagram
Publicado: 2018-08-09
| Actualizado: 2025-03-06
