Texas Instruments SN65DSI83/SN65DSI83-Q1 DSI-to-LVDS Bridge
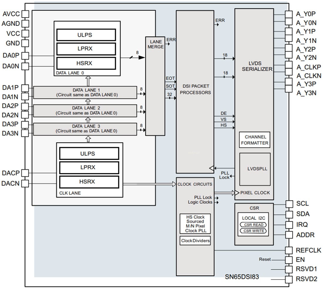
Texas Instruments SN65DSI83/SN65DSI83-Q1 DSI-to-LVDS Bridge features a single-channel MIPI D-PHY receiver front-end configuration with four lanes per channel operating at 1Gbps per lane and a maximum input bandwidth of 4Gbps. The bridge decodes MIPI DSI 18bpp RGB666 and 24bpp RGB888 packets. The device also converts the formatted video data stream to an LVDS output operating at pixel clocks operating from 25MHz to 154MHz, offering a Single-Link LVDS with four data lanes per link. The SN65DSI83/SN65DSI83-Q1 can support up to WUXGA 1920 × 1200 at 60 frames per second, at 24 bpp with reduced blanking. The device is also suitable for applications using 60fps 1366 × 768/1280 × 800 at 18bpp and 24bpp. Partial line buffering is implemented to accommodate the data stream mismatch between the DSI and LVDS interfaces. The Texas Instruments SN65DSI83-Q1 devices are AEC-Q100 qualified for automotive applications.Features
- Implements MIPI D-PHY version 1.00.00 physical layer front-end and display serial interface (DSI) version 1.02.00
- Single-channel DSI receiver configurable for 1, 2, 3, or 4 D-PHY data lanes per channel operating up to 1Gbps/lane
- Supports 18bpp and 24bpp DSI video packets with RGB666 and RGB888 formats
- Max resolution up to 60fps WUXGA 1920 × 1200 at 18bpp and 24bpp color with reduced blanking
- Suitable for 60fps 1366 × 768 / 1280 × 800 at 18bpp and 24bpp
- FlatLink™ output for single-link LVDS
- Supports single channel DSI to single-link LVDS operating mode
- LVDS output clock range of 25MHz to 154MHz
- LVDS pixel clock may be sourced from a free-running continuous D-PHY clock or external reference clock (REFCLK)
- 1.8V main VCC power supply
- Low power features include shutdown mode, reduced LVDS output voltage swing, common mode, and MIPI ultra-low power state (ULPS) support
- LVDS channel swap, LVDS PIN order reverse feature for ease of PCB routing
- ESD rating ±2kV (HBM)
- Packaged in 64-pin 5mm × 5mm nFBGA (ZXH)
- –40°C to 85°C temperature range
Applications
- PC & notebooks
- Tablets
- Connected peripherals & printers
Datasheets
Functional Block Diagram
Publicado: 2017-07-21
| Actualizado: 2024-04-02
