Texas Instruments LP5899/LP5899-Q1 LED Drivers

Texas Instruments LP5899/LP5899-Q1 LED Drivers are SPI-compatible devices with an internal oscillator to generate the continuous clock required by the LP589x/LP589x-Q1 family. These LED drivers incorporate reporting faults in the LP589x/LP589x-Q1 daisy chain and LP5899/LP5899-Q1 internal. The LP5899/LP5899-Q1 devices can drive any number of cascaded LED drivers of the LP589x/LP589x-Q1 family, and the LED driver limits the maximum number of cascaded devices. These LED drivers operate at -40°C to 125°C temperature range. The LP5899/LP5899-Q1 drivers are ideal for SPI-compatible connectivity for LP5891/LP5891-Q1 and LP5892/LP5892-Q1 devices. The Texas Instruments LP5899-Q1 devices are AEC-Q100 qualified for automotive applications.

Features

  • AEC-Q100 qualified for automotive applications:
    • Grade 1:-40°C to 125°C ambient temperature range
    • Device HBM classification level H3A
    • Device CDM classification level C5
  • 2.5V to 5.5V operating voltage VCC range
  • SPI peripheral:
    • Up to 20MHz data transfer rate
    • Support multiple peripherals with one controller
  • Continuous Clock Serial Interface (CCSI) controller and peripheral:
    • Programmable clock jitter for EMI enhancement
  • Diagnostics:
    • Open-drain FAULT pin
    • SPI communication loss detection
    • CRC for SPI communication
    • CCSI data integrity
  • Data ready interrupt for availability of data

Applications

  • SPI compatible connectivity for LP5891-Q1 and LP5892-Q1 devices

Application Diagram

Application Circuit Diagram - Texas Instruments LP5899/LP5899-Q1 LED Drivers

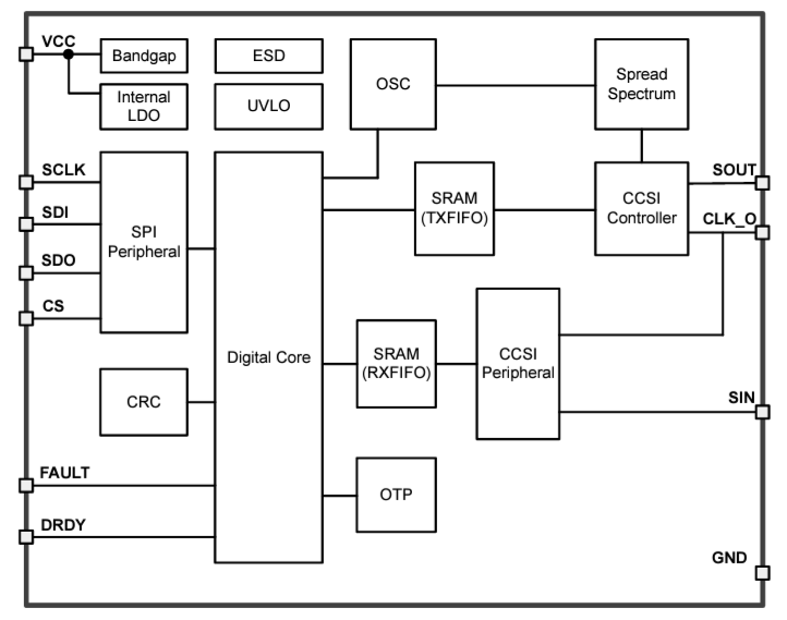
Functional Block Diagram

Block Diagram - Texas Instruments LP5899/LP5899-Q1 LED Drivers
Publicado: 2025-01-13 | Actualizado: 2025-05-09