STMicroelectronics ISO8200AQ Galvanic Isolated 8-Channel Drivers

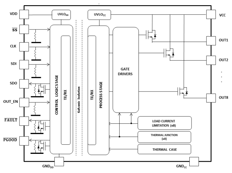
STMicroelectronics ISO8200AQ Galvanic Isolated 8-Channel Drivers feature a very low supply current and contain 2 independent galvanic isolated voltage domains. These include VCC and VDD for the process and control logic stages. The STMicroelectronics IC is intended for driving any kind of load with one side connected to the ground. The Control Logic Stage features an 8-bit Output Status Register. This is where the μC sets the status ON/OFF of the output channels in the Process Stage. An 8-bit Fault Register allows the OVT faults of each channel to be stored. The two stages communicate through the galvanic isolation channel by an ST proprietary protocol.

Features

  • Vdemag = VCC - 45V (per channel)
  • RDS(on) = 0.11Ω (per channel)
  • IOUT = 0.7A (per channel)
  • VCC = 45V
  • SPI interface with daisy chaining
  • 5V and 3.3V TTL/CMOS and μC compatible I/Os
  • Common output enable/disable pin
  • Fast demagnetization of inductive loads
  • Reset function for IC outputs disable
  • Very low supply current
  • Undervoltage shutdown with auto-restart and hysteresis
  • Short-circuit protection
  • Per-channel overtemperature protection
  • Thermal independence of separate channels
  • Case overtemperature protection
  • Loss of Ground and Supply protections
  • Overvoltage protection (VCC clamping)
  • Common fault open-drain output
  • Power GOOD open-drain output
  • High common mode transient immunity
  • ESD protection

Applications

  • Programmable logic control
  • Industrial PC peripheral input/output
  • Numerical control machines
  • Drivers for all types of loads (resistive, capacitive, inductive)

Block Diagram

Block Diagram - STMicroelectronics ISO8200AQ Galvanic Isolated 8-Channel Drivers

Videos

Publicado: 2019-04-23 | Actualizado: 2024-02-20