Analog Devices Inc. ADG1408L iCMOS® 8-Channel Analog Multiplexer
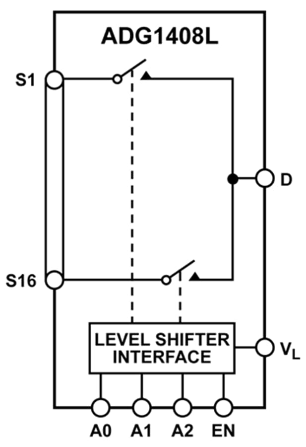
Analog Devices ADG1408L iCMOS® 8-Channel Analog Multiplexer switches one of eight inputs to a common output, as determined by the 3-bit binary address lines A0, A1, and A2. An EN input is used to enable or disable the device. When disabled, all channels are switched off. When on, each channel conducts equally well in both directions and has an input signal range that extends to the supplies. An external low-voltage VL supply provides flexibility for lower logic control. The Analog Devices Inc. ADG1408L is both 1.2V and 1.8V JEDEC standard compliant.Features
- 4.7Ω maximum on resistance at 25°C at ±15V dual supply
- 0.5Ω typical on-resistance flatness at 25°C at ±15V dual supply
- VL supply for low-logic level compatibility
- 1.8V JEDEC standard compliant (JESD8-7A)
- 1.2V JEDEC standard compliant (JESD8-12A.01)
- Fully specified at ±15V, +12V, and ±5V
- Rail-to-rail operation
- Break-before-make switching action
- 24-lead, 4mm × 4mm LFCSP
Applications
- FPGA and microcontroller systems
- Relay replacement
- Audio and video routing
- Automatic test equipment
- Data acquisition systems
- Communication systems
Functional Block Diagram
Publicado: 2023-10-03
| Actualizado: 2025-02-20
