Microchip Technology AT21CS11 1Kb Serial EEPROM

Microchip Technology AT21CS11 1Kb Serial EEPROM is a 2-pin memory (SI/O signal and Ground) that harvests energy from the signal pin to power an integrated circuit for use in consumer and industrial applications. The AT21CS11 utilizes the Single-Wire bus and only two pins are needed to access the device: SI/O and GND. The SI/O signal is a combination of data and power lines, providing power to the device with a parasitic power scheme.

Microchip Technology AT21CS11 1Kb Serial EEPROM is available in 8-pin SOIC (150 mil), 3-pin SOT23, 2-pad XSFN, and 4-ball Thin CSP packages.

Features

  • 128x8 (1Kbit)
  • Low power consumption:
    • Read current 0.08mA (Typical), 0.3mA (Max)
    • Write current 0.2mA (Typical), 0.5mA (Max)
    • Standby current 0.7uA (Typical), 2.5uA (Max)
  • Software write protection:
    • Four independent 256-bit zones
  • High speed (125kbps) mode
  • Available in 8-pin SOIC (150 mil), 3-pin SOT23, 2-pad XSFN, and 4-ball Thin CSP packages
  • Factory programming available
  • Self-timed erase and write cycles (5ms max.)
  • Single-wire compatible:
    • I2C protocol structure
    • Communication through a single I/O pin
  • More than 1 million erase/write cycles
  • Data retention > 100 years
  • ESD protection > 8000V (HBM)

Videos

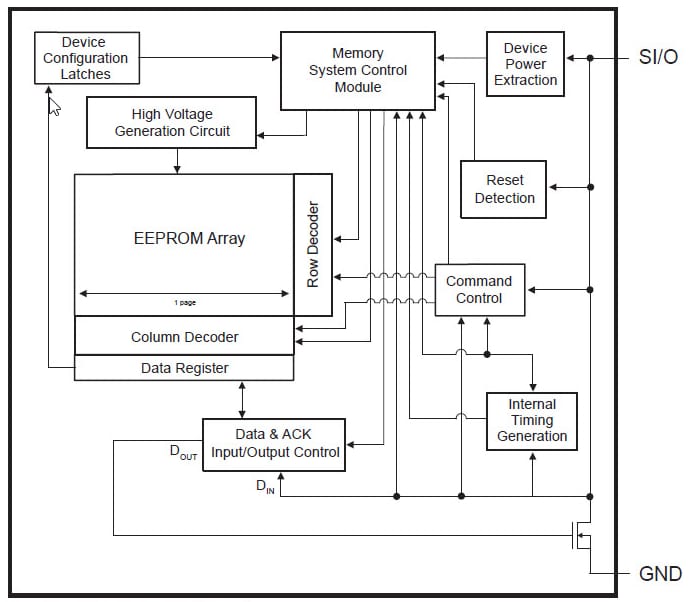
Block Diagram

Block Diagram - Microchip Technology AT21CS11 1Kb Serial EEPROM
Publicado: 2017-11-09 | Actualizado: 2022-04-05