Micro Crystal RV-3028-C7 Real-Time Clock (RTC) Modules
Micro Crystal RV-3028-C7 Real-Time Clock (RTC) Modules provide low power consumption of 45nA at a supply of 3V and ±1ppm accuracy at room temperature. These features eliminate any calibration during manufacturing. The miniature SMD ceramic package (3.2mm x 1.5mm x 0.8mm) includes the 32.768kHz quartz crystal as part of a hermetically sealed module. The extremely low power consumption combined with the integrated battery backup switch with trickle charger allows MLCC capacitors/Supercaps to provide extended backup time. With an event detection input, the RV-3028-C7 modules from Micro Crystals feature all the prerequisites for wearables, medical healthcare, and other power-sensitive IoT applications.Features
- Ultra-miniature ceramic SMD package: 3.2mm x 1.5mm x 0.8mm
- Event input for time-stamping, also during system power-down
- Battery backup switch with a trickle charge, ideal for MLCCs and supercaps
- Provides time and date from seconds to years
- 32-bit UNIX time counter (e.g. for security code calculations)
- Password for write protection of time and configuration
- 43 bytes of user EEPROM
Applications
- Internet of Things (IoT)
- Metering
- Industrial
- Automotive
- Healthcare
- Wearables
- Portables
Specifications
- 45nA at 3V low power consumption
- 1.1V to 5.5V wide operating voltage range
- ±1ppm at 25°C time accuracy
- -40°C to +85°C operating temperature range
- 32.768kHz to 1Hz clock output frequencies
- 400kHz I2C bus interface
Videos
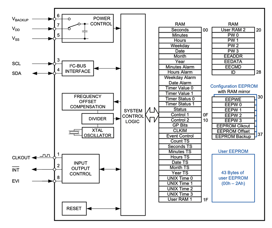
Block Diagram
Additional Resources
Publicado: 2020-06-02
| Actualizado: 2025-03-25
