Diodes Incorporated AH332x High-Voltage Hall-Effect Unipolar Switches
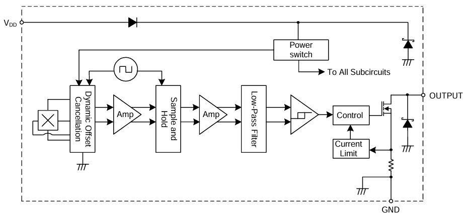
Diodes Incorporated AH332x High-Voltage Hall-Effect Unipolar Switches are designed for industrial and consumer applications. These applications include proximity, position, and level sensing in appliances and personal care devices. The Diodes Incorporated AH332x operates seamlessly within a supply range of 3.0V to 28V, ensuring compatibility with various demanding uses. The chopper-stabilized architecture and internal bandgap regulator offer a temperature-compensated supply for reliability across the entire operating range. Additionally, the device incorporates protective features like a reverse blocking diode with a Zener clamp on the supply, an overcurrent limit, and a Zener clamp on the output.Features
- Unipolar operation
- BOP and BRP of 30G to 115G and 20G to 90G typical high sensitivity
- Single open-drain output with overcurrent limit
- 3.0V to 28V operating voltage range
- Resistant to physical stress
- Chopper stabilized design provides superior temperature stability
- Minimal switch point drift
- Enhanced immunity to stress
- Good RF noise immunity
- Reverse blocking diode
- Zener clamp on supply and output pins
- -40°C to +125°C operating temperature
- 8kV high ESD HBM
- Industry-standard SC59, SOT23 (type S), SIP-3 (ammo pack), and SIP-3 (bulk pack) packages
- Totally lead-free and fully RoHS compliant
- Halogen and antimony-free, green device
Applications
- Position and proximity sensing in consumer home appliances, building automation, office equipment, and industrial applications
- Open and close detection
- Position detection
- Level detection
- Flow meters
- Contactless switches
Typical Applications Circuit
Block Diagram
Publicado: 2024-02-21
| Actualizado: 2024-03-06
