Analog Devices Inc. ADPD4200 Multimodal Sensor Front End

Analog Devices Inc. ADPD4200 Sensor Front End operates as a complete photometric sensor front end, stimulating up to four Light Emitting Diodes (LEDs). This Sensor Front End also measures the return signal on up to four separate current inputs. The ADPD4200 Sensor Front End is equipped with twelve-time slots that enable twelve separate measurements per sampling period. This sensor includes a control circuitry with flexible LED signaling and synchronous detection. The ADPD4200 Sensor Front End uses a 1.8V analog core and 1.8V or 3.3V compatible digital input/output (I/O). This sensor features dual-channel processing with simultaneous sampling, on-chip digital filtering, 400mA total LED peak drive current, and 512-byte FIFO size. The ADPD4200 Sensor Front End includes multiple applications in wearable health and fitness monitors, industrial monitoring, and home patient monitoring devices.

Features

  • Multimodal analog front end
  • 4 input channels have multiple operation modes:
    • PPG, ECG
    • EDA
    • Impedance
    • Temperature
  • Dual-channel processing with simultaneous sampling
  • 12 programmable time slots for synchronized sensor measurements
  • Flexible input multiplexing to support differential and single-ended sensor measurements
  • SPI communications supported
  • 512-byte FIFO size
  • 4 LED drivers, which can be driven simultaneously
  • Flexible sampling rate from 0.004Hz to 9kHz using internal oscillators
  • On-chip digital filtering
  • 105dB Signal-to-Noise Ratio (100kΩ TIA gain, 100Hz ODR, 80 pulses, CPD= 70pF, and 0.5Hz to 10Hz bandwidth)
  • 60dB up to 1kHz AC ambient light rejection
  • 400mA total LED peak drive current
  • 30μW total system power dissipation
  • Continuous PPG measurement at 75dB SNR, 25Hz ODR, and 100nA/mA CTR

Applications

  • Wearable health and fitness monitors:
    • Heart Rate Monitors (HRMs)
    • Heart Rate Variability (HRV)
    • Stress and blood pressure estimation
    • SpO2
    • Hydration
    • Body composition
  • Industrial monitoring:
    • CO
    • CO2
    • Smoke
    • Aerosol detection
  • Home patient monitoring

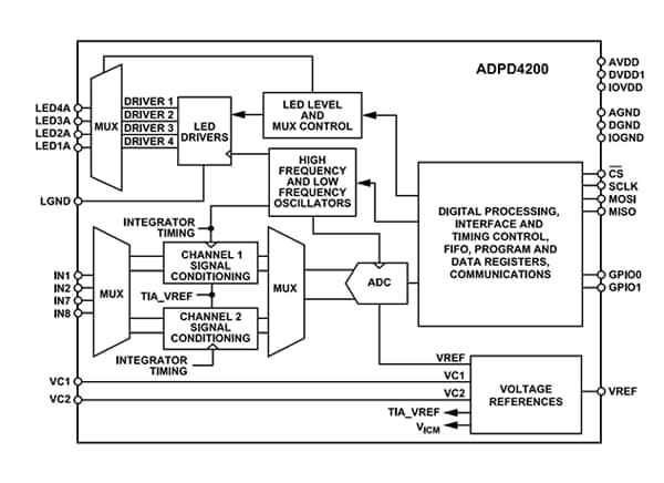
Functional Block Diagram

Block Diagram - Analog Devices Inc. ADPD4200 Multimodal Sensor Front End
Publicado: 2022-07-18 | Actualizado: 2022-10-10