Analog Devices Inc. AD4129 16-Bit Sigma-Delta ADCs

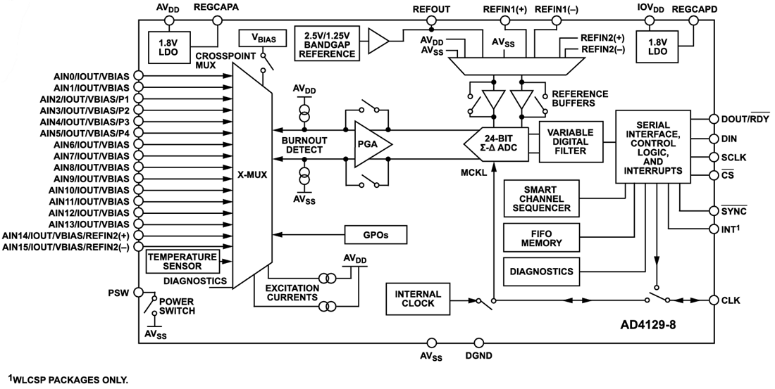
Analog Devices AD4129 16-Bit Sigma-Delta Analog-to-Digital Converters (ADCs) are an ultra-low power high-precision measurement solution for low bandwidth battery-operated applications. The fully integrated analog front end (AFE) includes a multiplexer for up to 16 single-ended or eight differential inputs, a programmable gain amplifier (PGA), and 16-bit sigma-delta (Σ-Δ) ADC, on-chip reference and oscillator. The device also includes selectable filter options, a smart sequencer, sensor biasing, excitation options, diagnostics, and a first in, first out (FIFO) buffer and duty cycling.

The AD4129 allows for the measurement of low-frequency signals with a current consumption of 28.5μA (gain = 1) and 32.5μA (gain = 128) while continuously converting and even lower average currents when using one of the duty cycling options. Configure the AD4129-8 to have eight differential inputs or 16 single-ended or pseudo-differential inputs, which connect to a crosspoint multiplexer, where any input pair can become a measurement channel input to the PGA and ADC.

The Analog Devices AD4129 is designed to operate from a single analog supply voltage from 1.71V to 3.6V. In battery applications, operation as low as 1.71V can extend the system's lifetime as the AFE can continue its operation, even as the battery voltage dissipates. The digital supply can be separate and range from 1.65V to 3.6V. With the reduced current consumption, integrate an on-chip FIFO buffer with the smart sequencer to enable the AD4129 to become an autonomous measurement system, allowing the microcontroller to sleep for extended periods.

Intelligent interrupt functionality gives greater confidence in error detection and safety. Enable an interrupt signal to trigger when the samples in the FIFO reach a predefined value or when a user-programmable threshold is exceeded. High levels of integrated front-end functionality coupled with small package options allow smaller-end solutions. For example, the AD4129 integrates a low thermal drift band gap reference and accepts an external differential reference, which can be internally buffered.

In safety-critical applications, the AD4129 includes diagnostic functions such as open wire detection through burnout currents, internal temperature sensors, reference detection, and analog input overvoltage and undervoltage detection. The digital interface has added diagnostics like cyclic redundancy checks (CRC) and serial interface checks for a robust communication link.

Features

  • Ultra-low current consumption (typical)
    • 32μA continuous conversion mode (gain = 128) 
    • 5μA duty cycling mode (ratio = 1/16) 
    • 0.5μA standby mode
    • 0.1μA power-down mode
  • Built-in features for system-level power savings
    • Current saving duty cycle ratio of 1/4 or 1/16
    • Smart sequencer and per channel configuration minimizes host processor load
    • Deep-embedded FIFO minimizes host processor load (depth of 256 samples)
    • Autonomous FIFO interrupt functionality, threshold detection
    • Single supply as low as 1.71V increasing battery length
  • 25nV rms at 1.17SPS (gain = 128) to 48nV/√Hz RMS noise
  • Up to 22 noise-free bits (gain = 1)
  • An output data rate of 1.17SPS to 2.4kSPS
  • Operates from 1.71V to 3.6V single supply or ±1.8V split supplies
  • Band gap reference with 15 ppm/°C maximum drift
  • PGA with rail-to-rail analog input
  • Adaptable sensor interfacing functionality
    • Matched programmable excitation currents for (RTDs)
    • On-chip bias voltage generator for thermocouples
    • Low-side power switch for bridge transducers
    • Sensor open wire detection
  • Internal temperature sensor and oscillator
  • Self and system calibration
  • Flexible filter options
  • Simultaneous 50Hz/60Hz rejection (on selected filter options)
  • General-purpose outputs
  • Diagnostic functionality
  • Crosspoint multiplexed inputs
    • Eight differential/16 pseudo-differential inputs
  • 5MHz SPI (3-wire or 4-wire)
  • Available in 35-ball, 2.74mm × 3.6mm WLCSP (AD4129-8) or 32-lead, 5mm x 5mm LFCSP (AD4129-4)
  • -40°C to +105°C temperature range

Applications

  • Smart transmitters
  • Wireless battery and harvester-powered sensor nodes
  • Portable instrumentation
  • Temperature measurement: thermocouple, RTD, thermistors
  • Pressure measurement: bridge transducers
  • Healthcare and wearables

Functional Block Diagram

Block Diagram - Analog Devices Inc. AD4129 16-Bit Sigma-Delta ADCs
View Results ( 2 ) Page
N.º de artículo Hoja de datos Descripción
AD4129-4BCPZ-RL7 AD4129-4BCPZ-RL7 Hoja de datos Conversores analógicos a digitales - ADC Ultra-Low Power, 4ch Sys 16 Bit S-? ADC
AD4129-8BCBZ-RL7 AD4129-8BCBZ-RL7 Hoja de datos Conversores analógicos a digitales - ADC Ultra-Low Power Hi Integrated 16 Bit ADC
Publicado: 2023-03-20 | Actualizado: 2024-07-03