ams OSRAM CMV2000 Image Sensors

ams OSRAM CMV2000 Image Sensor is a high sensitivity, pipelined global shutter CMOS image sensor with 2048px x 1088px resolution capable of HD format. Pipelining allows exposure during readout. The state-of-the-art pixel architecture offers true correlated double sampling (CDS) reducing the fixed pattern noise and dark noise significantly. The imager integrates 16 LVDS channels each running at 480Mbps, resulting in a 340fps frame rate at full resolution at 10-bit per pixel. Driving and readout are programmed over a serial peripheral interface. An internal timing generator produces the signals needed for readout and exposure control of the image sensor. External exposure triggering remains possible on the ams CMV2000. A 12-bit per pixel mode is available at a reduced frame rate.

Features

  • Pipelined global shutter type with true CDS
  • Region of Interest (ROI) windowing capability with up to 8 separate ROIs, row based only
  • X-Y mirroring function
  • Multiple High Dynamic Range (HDR) modes up to 90dB
  • On-chip temperature sensor and timing generation
  • SPI programmable
  • 3.3V and 1.8V signaling
  • Monochrome and Bayer (RGB) configuration
  • RoHS compliant

Applications

  • 3D imaging
  • ITS
  • Machine vision
  • Motion capture
  • Video/broadcast
  • Bar and 2D code
  • Biometrics

Specifications

  • Resolution: 2MP - 2048 (H) x 1088 (V)
  • Pixel size: 5.5μm x 5.5μm
  • Optical format: 2/3''
  • Frame rates (at full resolution): 340fps (10-bit mode) and 70fps (12-bit mode)
  • Output interface: 16 LVDS outputs at 480Mbps
  • Sensitivity: 5.56V/lux.s (with microlenses at 550nm)
  • Conversion factor: 0.075LSB/e- (10-bit mode) at unity gain
  • Full well charge: 13.5Ke-
  • Dark noise: 13e-RMS
  • Dynamic range: 60dB
  • Signal to noise ratio (SNR) max: 41.3dB
  • Parasitic light sensitivity: 1/50000
  • Dark current: 125e-/s (25°C)
  • Fixed pattern noise: <1LSB (<0.1% of full swing)
  • Supply voltage: 1.8V / 3.3V
  • Power: 600mW
  • Operating temperature: -30°C to +70°C
  • Package options: ceramic 95 pins μPGA or LGA; 92 pins LCC

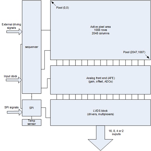
Block Diagram

Block Diagram - ams OSRAM CMV2000 Image Sensors
Publicado: 2015-10-06 | Actualizado: 2022-03-11