ABLIC S-34TS04A 2-Wire Serial EEPROM

ABLIC S-34TS04A 2-Wire Serial EEPROM comes with a temperature sensor for the Dual In-line Memory Module (DIMM) serial presence detection. This EEPROM incorporates a capacity of 4Kb and the organization of 2 pages × 256-word × 8-bit. The S-34TS04A EEPROM provides page write and sequential reading. This EEPROM operates with the I2C bus at 1MHz maximum frequency. The ABLIC S-34TS04A EEPROM offers a software-programmed shutdown mode that can be set by the I2C to achieve a reduction in the current consumption.

Features

  • Temperature sensor for DIMM serial presence detect
  • Page write and sequential read available
  • Software-programmed shutdown mode reduces current consumption
  • Write protect function during low power supply voltage
    • Individual software data protection for each of four 128-byte blocks

Specifications

  • Page write of 16-bytes/page
  • 106 cycle/word endurance at Ta=+25°C
  • 100 years data retention at Ta=+25°C
  • 4Kb memory capacity
  • FFh initial delivery state
  • Temperature accuracy:
    • 0.5°C typical at Ta = +75°C to +95°C
    • 1.0°C typical at Ta = +40°C to +125°C
  • 8-samples/s (minimum) temperature sample rate
  • TSE2004B2 JEDEC standard compliant
  • 2.2V to 3.6V operating voltage range
  • 1MHz operating frequency (maximum)
  • DFN-8(2030)B package

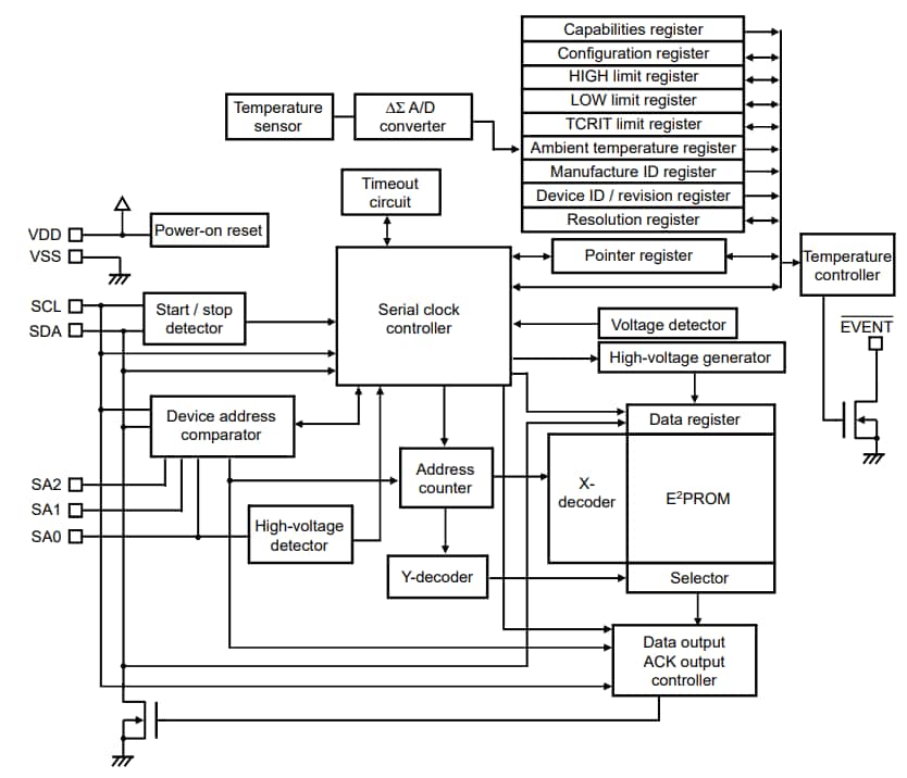
Block Diagram

Block Diagram - ABLIC S-34TS04A 2-Wire Serial EEPROM
Publicado: 2020-07-16 | Actualizado: 2024-03-18